Loading Dock Bumpers
+ Add to Quote RequestThe perfect way to protect your truck-loading bays!
Often buildings can suffer repeated impacts when trucks reverse in loading bays. Over time these impacts can cause costly damages.
We have a steel-faced rubber dock bumper designed to protect buildings where bumpers are required under normal conditions.
They provide three roles:
- Absorb the shock when vehicles arrive at dock with thick rubber
- Spread the pressure of the impact over a wider surface with its large steel surface
- Resist wear caused by the friction of the vehicle against the buffer as it moves up and down during loading/unloading.
Moreover, the solidity and size of our bumpers encourage drivers to adopt a lighter approach when reversing in the docks.
Additional Information


Front view exploded

Rear view exploded
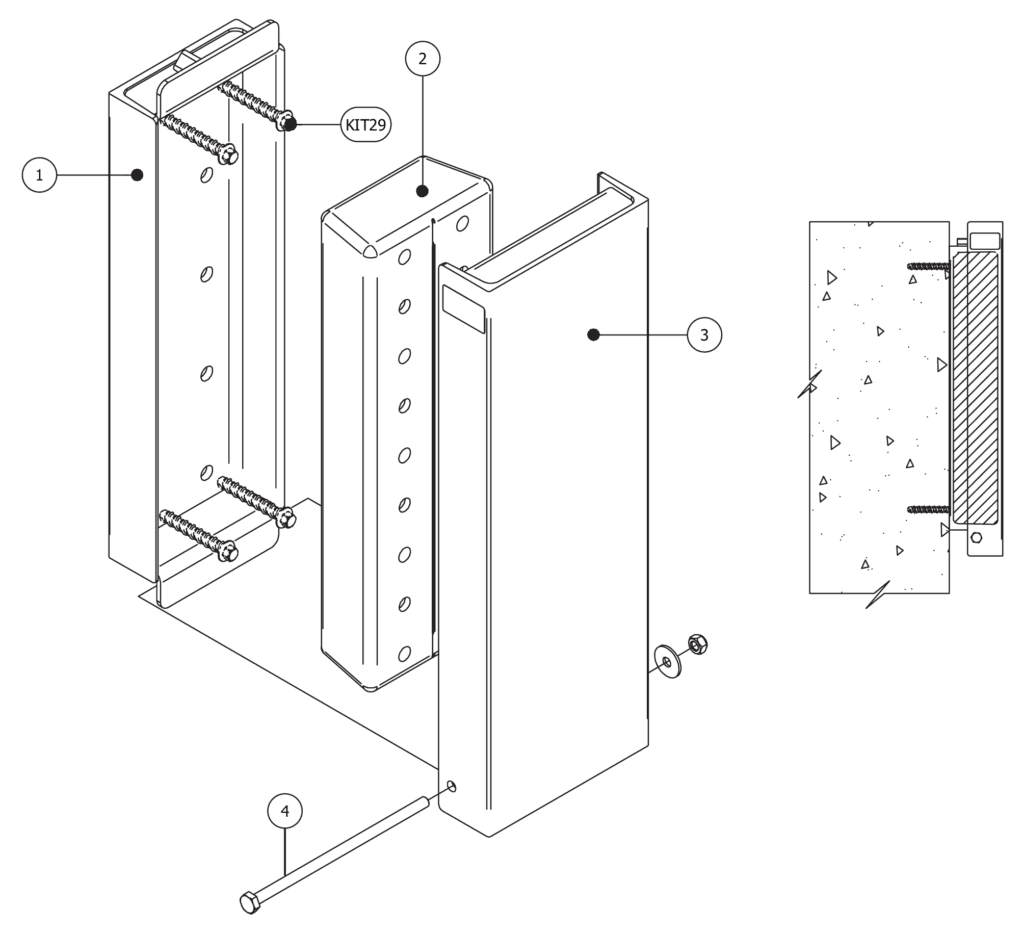
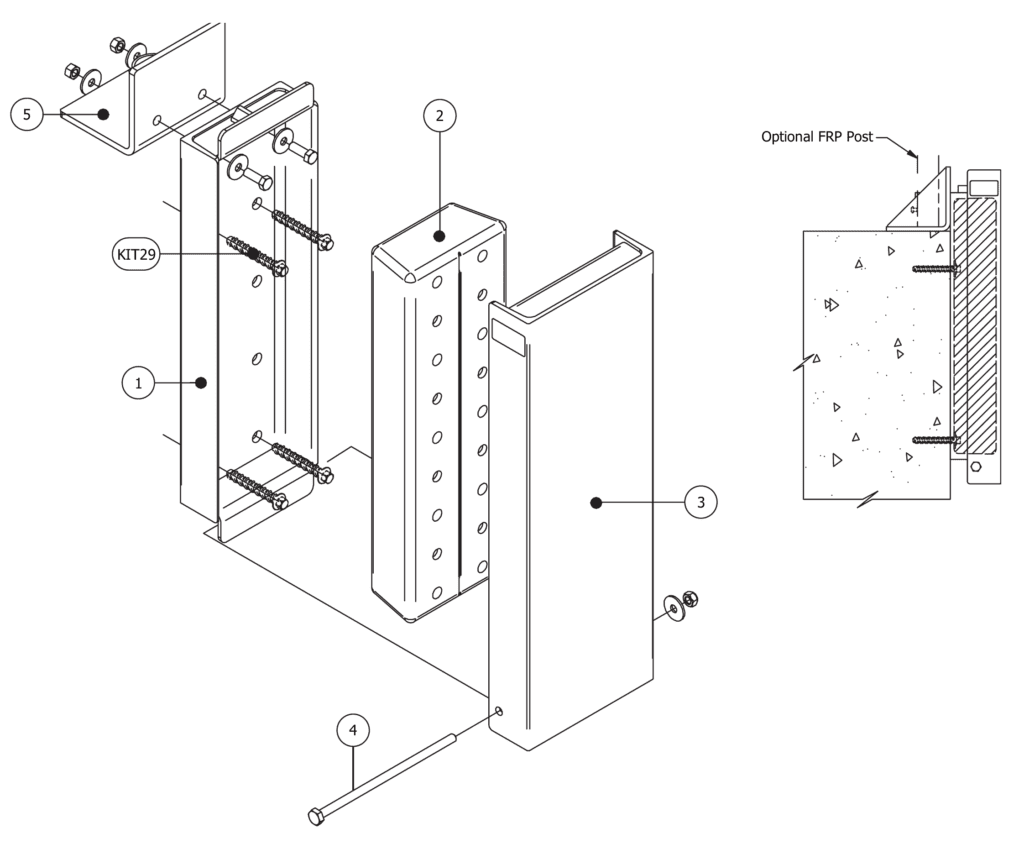
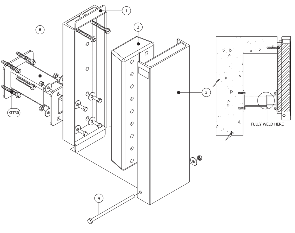
Three mounting variations:
Flush mounting
When the loading dock height is at an appropriate level, the LDB730 can simply be mounted to the dock face.

Raised mounting
If the dock floor height is lower than ideal there is the risk of the trailer coming in over the dock. The LDB730R elevates the bumper 150mm above the dock floor level to ensure the truck is captured.

Cantilever mounting
If the dock floor projects out over the building structure, the LDB730S is a telescopic stand-off support that extends back to the building to provide lower support to the dock bumper.






























